DLPVA-100-BUN-S 为可调增益电压放大器,适用于测量微弱电压信号,带宽最高可达 100 kHz。产品提供多种型号可选,单端输入,且配备50 Ω 输入阻抗规格。
一、主要特点
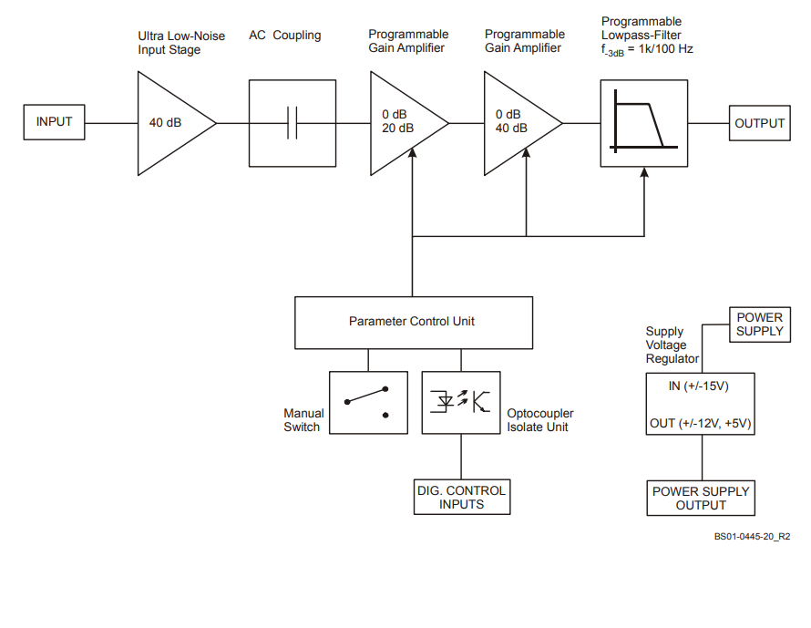
增益可调 40 至 100 dB,按 20 dB 步进切换
双极性输入级,推荐用于阻抗低于 50 Ω 的低阻抗信号源
输入电压噪声极低:400 pV/√Hz
交流耦合,单端输出
带宽 1.5 Hz - 100 kHz,可切换至 1 kHz
本地及远程控制
二、规格参数
| DLPVA-100-BUN-S | |
|---|---|
| 增益 | |
| 增益值 | 40、60、80、100 dB,由四个LED指示灯指示 |
| 增益精度 | ±1 % |
| 频率响应 | |
| 下限截止频率 | 1.5 Hz |
| 上限截止频率 | 100 kHz(12 dB/倍频程),可切换至1 kHz(6 dB/倍频程) |
| 时间响应 | |
| 上升/下降时间 | 3.5 µs(@ 带宽 = 100 kHz) 350 µs(@ 带宽 = 1 kHz) |
| 输入 | |
| 输入阻抗 | 1 kΩ typ. |
| 等效输入电压噪声 | 100 dB:400 pV/√Hz 80 dB:420 pV/√Hz 60 dB:800 pV/√Hz 40 dB:6 nV/√Hz |
| 等效输入电流噪声 | 5.5 pA/√Hz |
| 1/f噪声拐点 | 100 Hz |
| 输入偏置电流 | 30 µA |
| 线性放大最大输入直流失调电压 | ±90 mV |
| 输出 | |
| 输出阻抗 | <100 Ω(接大于100 kΩ负载以获得最佳性能) |
| 线性放大输出电压范围 | ±10 V(@ 大于100 kΩ负载) |
| 最大输出电流 | ±20 mA |
| 输出过载恢复时间 | 0.5 ms(20倍过载后) |
| 过载指示灯 | 该放大器配备过载指示灯,用于指示过载状态。当信号通路内的信号电平超出线性工作范围时,过载指示灯将亮起。为保证放大器正常工作且无信号失真,需降低增益设置直至过载指示灯熄灭。 放大器在输入开路或接高源极阻抗(如外部交流耦合)工作时,过载指示灯也可能亮起。这种情况下,偏置电流可能会产生明显的输入电压。为保证正常工作,请使用小于100 Ω的源极阻抗,或切换至更低的增益档位。 |
| 远程数字控制 | |
| 控制输入电压范围 | 低电平:–0.8 ~ +0.8 V 高电平:+1.8 ~ +12 V,兼容TTL/CMOS电平 |
| 控制输入电流 | 0 mA(@ 0 V) 1.5 mA(@ +5 V) 4.5 mA(@ +12 V) |
| 过载输出 | 非激活状态:+5 V,最大1 mA 激活状态:0.8 V,最大–10 mA |
| 电源 | |
| 供电电压 | ±15 V(工作范围±14.5 V ~ ±16 V) |
| 供电电流 | ±55 mA typ.(取决于工作工况,推荐电源最小供电能力为±150 mA) |
| 外壳 | |
| 重量 | 0.32 kg (0.7 lbs) |
| 材质 | 铝镁4.5锰合金,镀镍 |
| 存储温度 | –40 °C ~ +70 °C |
| 工作温度 | 0 °C ~ +55 °C |
失调电压可通过微调电位器或外部控制电压调节,选定增益档位由 LED 指示灯显示。输出端具备短路保护功能,电源通过 3 针 LEMO® 插座接入,设备随附配套连接器,可选配 PS-15 型电源。更多详情请参阅产品数据手册。

三、使用说明书
四、电路图

五、应用范围
超低噪声实验室放大器
脉冲热电动势分析
斩波型热电堆 / 测辐射热计
工业传感器
探测器前置放大器
集成测量系统
六、DLPVA-100-BUN-S系列
| Model | DLPVA-101-BLN-S | DLPVA-101-B-S | DLPVA-101-B-D | DLPVA-101-F-S | DLPVA-101-F-D |
| Input stage | Single ended, bipolar | Single ended, bipolar | Differential, bipolar | Single ended, FET | Differential, FET |
| Input | 1 MΩ, BNC | 1 MΩ, BNC | 1 MΩ, LEMO® | 1 TΩ, BNC | 1 TΩ, LEMO® |
| Lower Cut-Off Frequency | DC/1.5 Hz | DC/1.5 Hz | DC/1.5 Hz | DC/1.5 Hz | DC/1.5 Hz |
| Upper Cut-Off Frequency [kHz] | 1/100 | 1/100 | 1/100 | 1/100 | 1/100 |
| Gain [dB] | 40/60/80/100 | 20/40/60/80 | 20/40/60/80 | 20/40/60/80 | 20/40/60/80 |
| Input Voltage Noise [nV/√Hz] | 0.7 | 2.0 | 3.0 | 5.0 | 6.5 |
| Input Voltage Drift [µV/°C] | 0.5 | 0.7 | 0.7 | 1.3 | 1.3 |
| CMRR | - | - | 120 dB max. | - | 120 dB max. |
| Output | 50 Ω, BNC | ||||
| Output Voltage | ±10 V (@ 100 kΩ Load) | ||||
| Control Interface | TTL, CMOS, opto-isolated | ||||




